Η Airbus κατέθεσε αίτηση διπλώματος ευρεσιτεχνίας για ένα υπερηχητικό τζετ που μπορεί να πετάξει από το Λονδίνο στη Νέα Υόρκη σε μόλις μία ώρα.
Ναι, σε μόλις 60 λεπτά.
Σύμφωνα με την The Telegraph , η πρόταση εγκρίθηκε πρόσφατα από τις Ηνωμένες Πολιτείες Διπλωμάτων Ευρεσιτεχνίας και Εμπορικών Σημάτων και αναφέρει ότι το αεροπλάνο θα χρησιμοποιήσει τρεις τύπους κινητήρων για να πετάξει στην άκρη του κόσμου και να φτάσει ταχύτητες πάνω από 2.500 μίλια την ώρα – είναι τέσσερις φορές η ταχύτητα του ήχου.
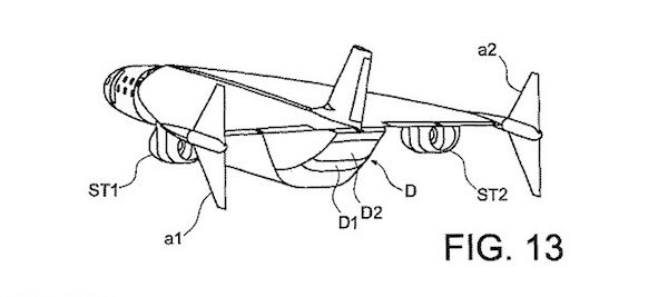
Σύμφωνα με το δίπλωμα ευρεσιτεχνίας εξηγεί πώς το αεροπλάνο θα αρχίσει με μια κάθετη απογείωση με «τουλάχιστον ένα» jet turbo που συμπτύσσεται μέσα στην άτρακτο καθώς το αεροπλάνο πλησιάζει την ταχύτητα του ήχου.
Επίσης έναν κινητήρα πυραύλων που κινείται με υδρογόνο και οξυγόνο και στη συνέχεια θα συμβάλουν όλοι μαζί στην υλοποίηση της πτήσης του αεροπλάνου σε υψόμετρο περίπου 100.000 πόδια, ένα πολύ μεγάλο υψόμετρο για ένα συμβατικό όπως αναφέρει η Telegraph.
Η πλειοψηφία του ταξιδιού θα γίνεται κατά μήκος των συνόρων μεταξύ ουρανού και του διαστήματος, αλλά το αεροπλάνο θα μειώνει σε ένα παραδοσιακό υψόμετρο καθώς φτάνει στον προορισμό του.
Στο δίπλωμα ευρεσιτεχνίας, η Airbus υποστηρίζει ότι το αεροπλάνο θα χρειαστεί επίσης τρεις ώρες για να πάει από το Τόκιο στο Λος Άντζελες.
Η Υπερηχητική ταχύτητα ενεργοποιεί τα ηχητικά φράγματα όταν το φράγμα του ήχου έχει σπάσει, δημιουργώντας έτσι πολύ θόρυβο, πολλές χώρες απαγόρευσαν την δημιουργία τέτοιον αεροσκαφών. Η Airbus, ωστόσο, λέει ότι το ύψος του επιπέδου και της θέσης θα περιορίσει τα ηχητικά φράγματα, δίνοντας τα υπερηχητικά κύματα κλονισμού περισσότερο χρόνο για να εξαφανιστούν στον ουρανό πριν αγγίξουν το έδαφος.
Το αεροπλάνο θα διαθέτει μόλις 20 επιβάτες, και η πλειοψηφία προβλέπεται να είναι «επιβάτες για επαγγελματικά ταξίδια και VIP που απαιτούν διηπειρωτικά ταξίδια επιστροφής μέσα σε μία ημέρα.»


